11年專業銷售工程師-徐工
15年專業銷售工程師-謝工
9年專業銷售工程師-王工
6年銷售工程師-張工
項目產品選型、技術指導高級電器工程師-李工
| 分類 | |
| 品牌 |
| 分類 | |
| 品牌 |
| 分類 | |
| 品牌 |
| 分類 |
|
| 品牌 |
|
優勢一:廣州南創是一家大型傳感器、儀器儀表、工業備品備件供應商!中國傳感器聯合會誠信“AAA”級成員,多家世界知名傳感企業中國市場開拓核心合作伙伴;
優勢二:完善的全國銷售服務網絡:12個區域辦事處、20個分公司、遍布全國的售后服務網點,為您及時便捷實現上門無憂售后服務;
優勢三:為國內多家知名大中型工業企業、航天工業企業提供國際工業自動化控制檢測設備及工業稱重系統和傳感器設備儀表,緊密依托中科院及清華大學的技術支持合作交流。技術、產品可靠值得信賴;
優勢四:鄭重承諾:三個月內產品有質量問題無條件退換貨;
優勢五:資深工程師為您提供全方位完善的一條龍銷售服務指導,售前專業方案設計、產品選型指導,售中安裝調試,售后三年上門免費跟蹤維修服務;
優勢六:全國優勢價格支持銷售,凡在我們公司購買產品,如果同類產品高于主流市場價格,我們雙倍補還差價,性價比高!
優勢七:我公司在國外設有7個境外專業采購中心,保證原裝進口,貨期快捷,價格具有優勢,可靠、放心
優勢八:我公司代理經銷169個品牌,全國同類產品系列全、品種多、多家知名企業中國合作伙伴代理。
稱量容器或監控填充狀態時, 必須考慮由于溫度變化而產生的容器和支架的水平運動。剛性安裝附件阻止這一運動,最終產生水平側向力,致使產生測量誤差。這一作用力有時使稱重傳感器損壞甚至完全斷裂。這種情況可能出現在負荷加載點處,偏心的負荷或斜向負荷可能產生扭力和側向力,因此需選擇能避免溫度變形或其他因素引起的水平力的結構。
使用安裝附件裝配傳感器的準則,是排除多方面的干擾。因而要求視應用而定選擇具體的安裝附件。然而說到底,只有對稱重技術了如指掌的設計工程師才能確定測量過程中的干擾情況。因此對不同的傳感器結構,不光有廣泛的負荷導入方式,也有多種安裝附件的選擇。
彈性支承體
典型的彈性支承體是許多重迭安置的鋼板和膠層,通過硫化過程互相連結的。很小的力也會使上面和下面的負荷引導面平行移動。所以最上支承板能避免側向力,而不給傳感器下支承板附加力。容器和傳感器之間的水平平移最多可達15mm。同時,在平移中產生回復力,使容器又回到起始點,此力與負荷無關,而正比于平移距離,根據彈性支承體型號的不同可達800牛頓,這一支承能平衡傾斜達1.7°的容器。
尤其對沖擊式的負荷振動和其他由外部引發的振動,彈性支承體的阻尼作用是有利的。此外,彈性支承體被設計成良好絕熱,其層式結構使容器與傳感器之間的熱傳導為極小。為限制側向偏移,只要設置端點偏移保護,而無須操作部件。
注意:由于待稱容器連接管道使彈性體支承在額定負荷時變形大約一個毫米,這已明顯地大于傳感器的實際變形量,若不予考慮會產生大的誤差。
盡管不用通常的導桿束縛,重心不穩時必須確保容器被結實固定。在容器稱量領域內,彈性支承體是能滿足低中精度要求的成本低廉和簡單的構件。

擺式傳感器
雙搖柱擺式傳感器
這是對在重量加載偏心時,能自主地回到起始點而設計的傳感器,這里利用了穩定平衡的物理特性。作為擺動體的傳感器占有負荷引導面,其曲率半徑大于傳感器高度。對初始位的搖擺導致加載點升高,從而使傳感器自歸中。
在技術參數表中允許的最大搖擺度,如對C16/40T型,最大為13毫米/5°,此值絕不允許超過,因搖擺過大會損壞傳感器和負荷導入點,這個問題可簡單地通過調節裝配結構的阻擋器到適合的位置來解決。對成本低廉,易于安裝而言,上下各一個HBM壓頭就足夠了,防旋轉保險裝置可阻止軸向的旋轉運動。
HBM雙搖柱擺式傳感器C16的額定負荷為20噸到200噸,它適于中高精度要求。

擺支承和擺支承座
帶有擺支承和擺支承座的標準梁式傳感器和C系列傳感器能達到自歸中的性能,這就使制造高精度容器秤成為可能。擺支承的結構形式,能達到3°的偏移而沒有明顯誤差,支承點的水平位移可以被限定在一定范圍內。多數ZPL型擺支承由二個支承座和一件柱式支承組成,對ZPS型擺支承僅僅柱式支承和EPO3壓頭各一個就能滿足要求。
擺支承在位移中加載點相對于出發點被略加提高。由此產生回復力,這個回復力使系統回到初始狀態,因此擺支承和擺支承座可看成是自歸中的。
同時它們被證明是容易安裝的,固緊容器或平臺的側面的導桿是不必要的。值得推薦的是通過端頭偏移保護來限制側向偏移。就象應用彈性支承體一樣,為了安全的需要,應保證容器有抬升保護和墜落保護。

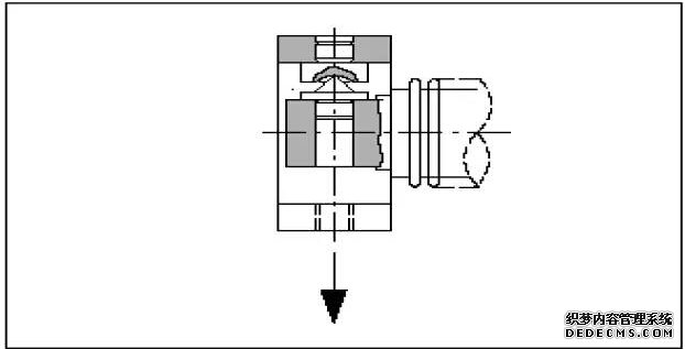
多球支承
多球支承允許支承點的側向位移較大,這些位移例如由溫度變化或內腔壓力變化引起的容器水平變形。多球支承安裝在傳感器的支座上,傳感器在裝配時借助中心銷釘支承于多球支承上,它能在較大側向位移下保持垂直負荷。當使用多球支承時負荷通過EPO零件(壓板)導入傳感器加載點上。它允許的最大水平位移視傳感器額定負荷而定,大約在±10毫米到±25毫米之間。所允許的最大側向力可達額定負荷的0.5%。因為多球支承不具備自復位的特性,所以必須附加安裝優質的導桿來固定。
在應用多球支承時要注意,交付使用前必須去掉多球支承上面板上的緊定螺栓,代之以較短的密封螺栓。裝有緊定螺栓的多球支承不允許側向偏移,變成固定支承。通過多球支承而成為可能的支承間隙,不應該受到限制。
下圖顯示了裝備有多球支承的傳感器的構造。傳感器置于多球支承上,通過上面壓頭(EPO)受到負荷導入。

附屬部件
1.錐尖和錐座
傳統的衡器制造以機械秤的結構為最高的精度。對電子衡器,“錐尖”和“錐座”,相當于機械秤的“刀口”。這一安裝附件尤其適應于高精度要求的稱重領域。但這種應用對動態負荷或振動是非常敏感的。

2.回扭機構
回扭機構應用于雙彎曲梁傳感器中,并使具有拉力或壓力負荷在作用在一條直線上。它的應用限于平臺內僅帶一個傳感器或與兩邊吊鉤一起懸掛的重物。

3.萬向節聯結
萬向節聯結適用于準靜態的拉式負荷(負荷頻率小于10赫茲),
其他的連接通常利用叉形件,頻率更高的動態負荷應該用柔性的易伸縮的柱狀體。

固定和傾斜型支座
如果容器的支承腳上沒有全部裝有傳感器,那么必須安裝固定或傾斜支座,在應用固定支座時,可利用現成的構件,圖4-9顯示了由HBM提供的固定支座,以斜撐支著的雙T支架組成、通過斜撐創造了一個很好的柔性區域,固定支座也在水平方向固定住了容器,這一方法也可以不用導向機構。要注意的是,傳感器的偏移會引起固定支座微小的彎曲,從而引起測量信號的誤差,可這一誤差可以通過校準傳感器的方法來減小。

對傾斜式支座而言上面描述的測量誤差,實際上不會出現,因為這里沒有彎曲應力可言,只發生細微的滾動摩擦,但是傾斜支座的水平偏移,遠小于固定支座的,因此根據應用場合不同可能需要安裝導向桿。

容器固定
1.保護器
建造容器秤時,其允許的位移基于傳感器及其安裝附件,這些安裝附件或者是自歸中的,部分是自復位的;機械保護器保護的是最大允許的側向偏移。例如角度阻擋器,或橡膠緩沖。

2.反向抬升保護
若容器重心位于承載點之上,且同時不能排除風及其他外力影響,則容器也應針對傾倒或抬升加以保護。
這可設計兩級保護或設計特別的反向抬升保護,例如,抬升保護可以在承載點附近垂直加入螺旋桿加以實現。在容器方面螺栓桿懸空地通過加載稱體的鉆孔伸入。其保護間隙是通過位于螺桿上的螺母調節的,通過在加載稱體中鉆孔的大小,通常也可限制最大側向位移。

3.導桿
在使用非回位作用的多球支座或類似的元件時值得推薦的是以導桿固定容器。導桿的尺寸和結構設計成能傳遞測量力。并使在測量方向上阻止容器運動的力盡可能的小,導桿有下列形式:

張弦:
它們不傳遞垂直力,并以此很好地避免外力的影響。
螺栓導桿:
它們在軸向方向產生與平衡水平力相應的反作用力,因此一個導桿必須兩端同時使用螺栓。

扁棍導桿:
扁棍導桿對水平的位移產生軸向力而對垂直的偏移引起了彎曲,它容易產生附加力。但是即使在大截面和雙面張緊使用時由于扁棍彎曲而產生的附加力的影響也是小的,但校準時必須注意附加力的作用。

銷子導桿:
銷子導桿在垂直方向產生極小的附加力,然而導桿小小的的傾斜即能引起夾緊,以此產生摩擦力,并形成垂直方向的附加力影響。
因而裝配中要求細心的定向工作,此外,在系緊容器,應確保不出現任何導致銷子導桿傾斜的位移。

帶萬向節螺栓導桿:
帶鉸鏈帶萬向節的頭的螺栓導桿與銷子導桿具有同樣的作用。然而由于萬向節軸承可以向各個方向自由旋轉,能避免傾斜。所以裝配時只要水平校準導桿,這類帶萬向節的螺栓導桿對于容器結構的制造和裝配誤差要求較松。但導桿必須對萬向節軸承進行保護,防止鎖死,尤其當它暴露在戶外。

下一篇: HBM應變傳感器應用于鍛壓機
本站內容未經許可禁止復制轉載!©2002 廣州南創電子科技有限公司
聯系電話:020-82303306 公司傳真:020-82303511下班及雙休日請撥打各品牌負責人電話電話詳情
備案號: 粵ICP備11086172號-1