11年專業銷售工程師-徐工
15年專業銷售工程師-謝工
9年專業銷售工程師-王工
6年銷售工程師-張工
項目產品選型、技術指導高級電器工程師-李工
| 分類 | |
| 品牌 |
| 分類 | |
| 品牌 |
| 分類 | |
| 品牌 |
| 分類 |
|
| 品牌 |
|
優勢一:廣州南創是一家大型傳感器、儀器儀表、工業備品備件供應商!中國傳感器聯合會誠信“AAA”級成員,多家世界知名傳感企業中國市場開拓核心合作伙伴;
優勢二:完善的全國銷售服務網絡:12個區域辦事處、20個分公司、遍布全國的售后服務網點,為您及時便捷實現上門無憂售后服務;
優勢三:為國內多家知名大中型工業企業、航天工業企業提供國際工業自動化控制檢測設備及工業稱重系統和傳感器設備儀表,緊密依托中科院及清華大學的技術支持合作交流。技術、產品可靠值得信賴;
優勢四:鄭重承諾:三個月內產品有質量問題無條件退換貨;
優勢五:資深工程師為您提供全方位完善的一條龍銷售服務指導,售前專業方案設計、產品選型指導,售中安裝調試,售后三年上門免費跟蹤維修服務;
優勢六:全國優勢價格支持銷售,凡在我們公司購買產品,如果同類產品高于主流市場價格,我們雙倍補還差價,性價比高!
優勢七:我公司在國外設有7個境外專業采購中心,保證原裝進口,貨期快捷,價格具有優勢,可靠、放心
優勢八:我公司代理經銷169個品牌,全國同類產品系列全、品種多、多家知名企業中國合作伙伴代理。
HM11-C3-350kg-3B6-SC稱重傳感器的具體技術參數,及更多更廣的傳感器系列產品,及型號等信息,詳細情況可點擊:zemic稱重傳感器,進行了解!
HM11-C3-350kg-3B6-SC稱重傳感器產品性能特點描述:
HM11-C3-350kg-3B6-SC稱重傳感器產品圖片:

產品名稱:美國zemic HM11-C3-350kg-3B6-SC
產品類型:稱重傳感器系列
產品型號:HM11-C3-350kg-3B6-SC
產品品牌:zemic稱重傳感器
特性:
HM11-C3-350kg-3B6-SC稱重傳感器在高溫下具有出色的耐空氣腐蝕性。其表面有一層氧化鋁層,可阻止進一步氧化。這種耐氧化性能使熱電偶探頭在EMF漂移使熱電偶"失準"之前工作很長時間,或與從控制器輸出的脈沖直流電壓的直流控制信號的組合。
HM11-C3-350kg-3B6-SC稱重傳感器技術參數:
精度等級:典型±0.25%FS,最大±0.5%FS (包含非線化、遲滯性和重復性)
HM11-C3-350kg-3B6-SC稱重傳感器密封等級:IP98
長期穩定性:小于0.3%FS/年
勵磁最大36V
補償溫度:0 ? 90 ℃
綜合精度:0.1 % FS , 0.25 % FS , 0.5 % FS , 1.0 % FS
輸出信號:4 ? 20mA(六線制) , 0 ? 5V , 1 ? 5V , 0 ? 10V (四線制)
環境溫度:常溫(-30 ? 85 ℃ )
HM11-C3-350kg-3B6-SC稱重傳感器存貯溫度: -80~220 ℃
零點溫度漂移: ≤± 0.05 % FS ℃
機械連接(螺紋接口) : 1/2-20UNF , M14 × 1.5 , M20 × 1.5 , M22 × 1.5等,
輸出形式 1、電流輸出: 4~20mA 0~10mA DC 2、電壓輸出:0~5V 1~
絕緣電阻:大于4000MΩ ( 200VDC )
zemic HM11-C3-350kg-3B6-SC稱重傳感器負載能力:電流型≤100mS電壓型 ≥100KW
極限過載:300 % FS
供電電壓:34DCV ( 9 ? 36DCV )
介質溫度:-30 ?95 ?253 ℃
長期穩定性: 0.01 % FS /年
HM11-C3-350kg-3B6-SC稱重傳感器安全過載:260 % FS
根據接近實際溫度的測量值時,必須予以糾正的散熱系數,
安全載荷150%
負載電阻:電流輸出型:最大950Ω;電壓輸出型:大于70KΩ
輸出電壓將不會達到最大輸入電壓: <+60℃、<+120℃、<+200℃
響應時間:6毫秒(上升到95% FS )
轉換器使用最新和最先進的單芯片和表面
HM11-C3-350kg-3B6-SC稱重傳感器輸出形式 1、電流輸出: 4~20mA 0~10mA DC 2、電壓輸出:0~5V 1~
技術參數圖:

HM11-C3-350kg-3B6-SC輸出電平將是60% 5伏,也就是3 V.對于4? 20mA輸出(16 mA范圍) ,60% ,等于( 0.6× 16)+ 4 ,即13.6毫安。這通常用于具有比例控制閥或電源控制器一起使用。
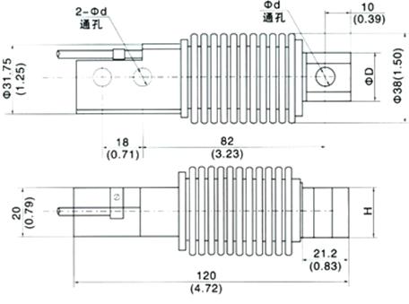
產品尺寸圖:

除HM11-C3-350kg-3B6-SC稱重傳感器之外的其它與其相關產品及型號:
H3F-C3-1.5t-6T★價格
H8C-C3-250kg-4B1★報價
355-30kg報價
本站內容未經許可禁止復制轉載!©2002 廣州南創電子科技有限公司
聯系電話:020-82303306 公司傳真:020-82303511下班及雙休日請撥打各品牌負責人電話電話詳情
備案號: 粵ICP備11086172號-1